Nissan ARIYA 2025 Instruksjonsbok
8.6. Tilgjengelige visningsalternativer
Avstandsguidelinjene og kjøretøyets breddeføringslinjer bør kun brukes som referanse når kjøretøyet står på et asfaltert, vannrett underlag. Avstanden som vises på skjermen, kan være forskjellig fra den faktiske avstanden mellom kjøretøyet og objektene som vises.
Bruk linjene og fugleperspektivbildet som veiledning. Linjene og fugleperspektivet påvirkes sterkt av antall beboere, kjøretøyposisjon, veiforhold og veikvalitet.
Hvis dekkene skiftes ut med dekk i forskjellige størrelser, kan de forutsigbare kurslinjene og fugleperspektivet vises feil.
Når du kjører kjøretøyet opp en bakke, er objekter som vises i monitoren lenger enn de vises. Ved rygging i utforbakke, vil gjenstandene være nærmere enn det ser ut til på skjermen.
Objekter i bakspeilet vises visuelt motsatt sammenlignet med når de vises i bakspeilet og utenfor speilet.
Bruk speilene eller snu deg fysisk for å se og bedømme den faktiske avstanden til gjenstander rundt bilen.
Avstanden til gjenstandene som vises på skjermen med bilde bakover kan avvike fra den virkelige avstanden, da kameralinsen er en vidvinkellinse.
På snødekke eller glatte veier, kan det oppstå avvik mellom forutsigelseslinjene og bilens virkelig trasé.
Bilens bredde og hjelpelinjene er bredere enn den faktiske bredden for traseen.
Utsikt for- eller bakover


Føringslinjer som angir omtrentlig kjøretøybredde og avstander til objekter med referanse til kjøretøyets karosserilinje (A) , vises på skjermen.
Veiledningslinjer for kjøretøybredde (1):
Angi bilens bredde.
Prediktive kurslinjer (2):
Antyder hvor bilen vil havne dersom bilen kjøres etter nåværende utslag på rattet. Forutsigelseslinjene flytter seg avhengig av hvor mye rattet dreies.
Hjelpelinjene:
Antyder avstanden fra bilens karosseri.
Rød linje (3): ca. 0,5 m (1,5 fot)
Blå linje (4): ca. 1 m (3 fot)
Blå linje (5): ca. 2 m (7 fot)
Blå linje (6): ca. 3 m (10 fot)
Visning av utsikt forover vises ikke når bilen beveger seg fortere enn 10 km/t.
Fugleperspektiv

Fugleperspektivet er en grafisk (skjematisk) framstilling av bilen som kan gjøre det enklere å bedømme bilens plassering i forhold til forutsigelseslinjene inn mot en parkeringsplass.
Kjøretøyikonet (1) viser kjøretøyets posisjon. Bemerk at avstanden mellom objekter som vises i fugleperspektiv avviker fra den faktiske avstanden.
De prediktive kurslinjene (2) angir den predikerte kursen når du betjener kjøretøyet.
Objekter i fugleperspektivet vises lenger enn den faktiske avstanden.
Høye objekter, som f.eks en fortauskant eller en bil, kan bli feilindikert eller ikke vises i det hele tatt i overgangen mellom bildene fra de ulike kameraene.
Gjenstander som befinner seg over kameraet i høyde vises ikke.
Visningen av fugleperspektivet kan bli feiljustert dersom kameraposisjonen endres.
En linje på bakken kan bli feiljustert eller ikke vises som en rett linje i overgangen mellom bildene fra de ulike kameraene. Feiljusteringen vil øke etter hvert som gjenstanden kommer lenger unna bilen.
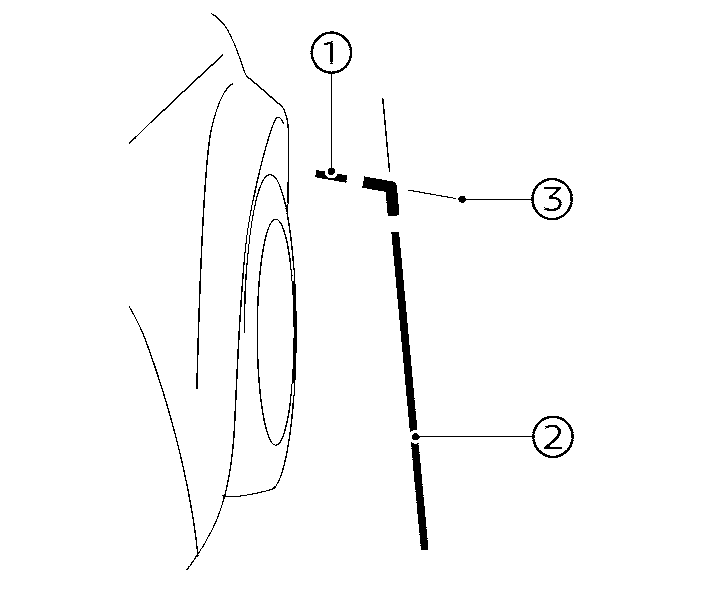
Front-/sidevisning

Skjermoppsettet i illustrasjonen er for LHD-modellen (Left-Hand Drive). For RHD-modellen (Right-Hand Drive) vil skjermoppsettet være motsatt.
Hjelpelinjer:
Hjelpelinjene antyder bilens bredde og bilens front vises på skjermen.
Frontlinjen (1) viser bilens fremre ende.
Sidelinjen (2) viser bilens bredde, inkludert sidespeil.
Utvidelsene (3) for både frontlinjene (1) og sidelinjene (2) vises med en blå linje.
Blinkelampen kan se ut som kjøretøyets sidelinje. Dette er ikke en funksjonsfeil.
Utsikt framover/bakover


Mens frontvisningen/bakvisningen viser en normal visning på de delte skjermene, viser visningen for front/bakside et bredere område på hele skjermen og gjør det mulig å kontrollere de blinde hjørnene på høyre og venstre side.
Veiledningslinjer for kjøretøybredde (1):
Angir omtrentlig bredde på bilen.
Prediktive kurslinjer (2):
Antyder hvor bilen vil havne dersom bilen kjøres etter nåværende utslag på rattet. Forutsigelseslinjene flytter seg avhengig av hvor mye rattet dreies.
Hjelpelinjene:
Antyder avstanden fra bilens karosseri.
Rød linje (3): ca. 0,5 m (1,5 fot)
Blå linje (4): ca. 1 m (3 fot)
Blå linje (5): ca. 2 m (7 fot)
Blå linje (6): ca. 3 m (10 fot)
Visning av utsikt forover vises ikke når bilen beveger seg fortere enn 10 km/t.