Nissan ARIYA 2025 Instruksjonsbok
8.8.3. Automatisk klimaanlegg
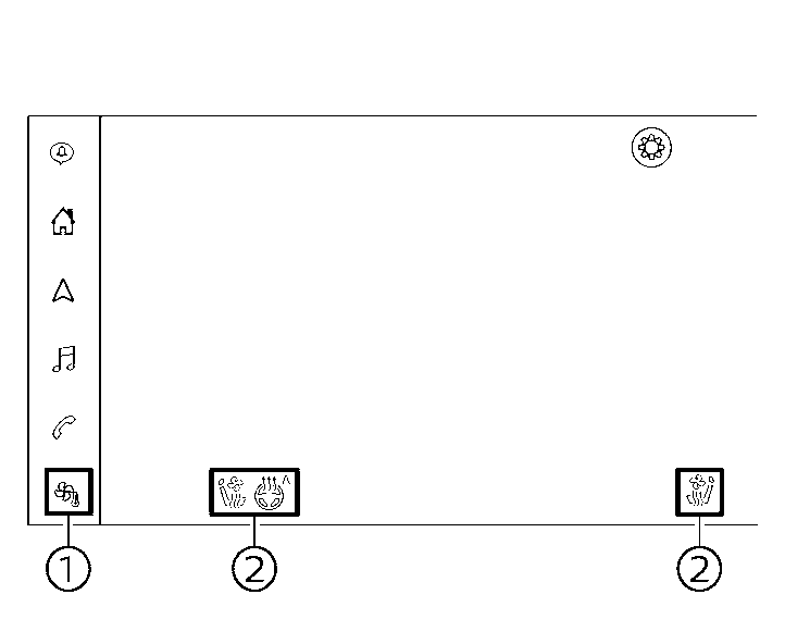
Du kan bruke begge knappene på instrumentpanelet eller tastene på klimakontrollskjermen til å styre det automatiske klimaanlegget.

Hvis du vil vise klimakontrollskjermen, trykker du på
" -tasten (1) på berøringsskjermen.
Du kan også kontrollere noen klimaanlegginnstillinger ved å berøre "
" eller "
”-tasten (2) (modellavhengig) mens du viser et annet enn klimakontrollskjermbildet.


- 1.Temperaturkontrollknapp/temperaturkontrolltast (førersiden)
- 2.
Defrosterknapp (foran) - 3.
Bryter for varmetråder på bakruten - (Se )
- 4.Viftehastighetskontrollknapper / viftehastighetskontrolltaster
- 5.AV·PÅ-knapp/-tast
- 6<AUTO> (automatisk) knapp/[AUTO] (automatisk) tast
- 7Kontrollknapp/nøkkel for luftinntak
- 8Temperaturkontrollknapp/temperaturkontrolltast (passasjerens side)
- 9Oppvarmet rattnøkkel (modellavhengig)
- (Se )
- 10Kontrolltast for forsetet (modellavhengig)
- (Se eller )
- 11.[DRIVER ZONE]-nøkkel
- 12.Tast for luftstrømskontroll
- 13.Oppvarmet frontrutenøkkel (modellavhengig)
- (Se )
- 14.[REAR]-tasten (modellavhengig)
- (Se )
- 15.[A/C] (klimaanlegg) nøkkel
- 16.[FAN ONLY]-tasten
- 17.[SYNC] (synkroniser) knapp
Knappen og skjermoppsettet i illustrasjonen er for LHD-modellen (venstrerattet). For RHD-modellen (høyrerattet) vil knappen og skjermoppsettet være motsatt.
Nissan instruksjonsbok