Nissan ARIYA 2025 Instruksjonsbok
5.5.1.4. Kollisjonsgardiner
Dette systemet tar i mot for kreftene som øves på hodet til fører og/eller passasjer foran eller i baksetet på passasjerplassene ytterst (mot vinduene) i visse typer sidekollisjoner. Kollisjonsgardinene er konstruert for å løse ut på den siden av bilen som utsettes for sammenstøtet.
SRS er designet for å supplere den ulykkesbeskyttelsen som sikkerhetsbeltene gir, og er ikke designet for å være en erstatning for dem. Kollisjonsputene kan redde liv og redusere skadeomfanget. En kollisjonspute som utløses kan likevel forårsake mindre skader og sår. Kollisjonsputen beskytter ikke de nedre kroppsdelene. Sikkerhetsbeltene må alltid være riktig fastspent og de som har dem på seg må alltid sitte i passende avstand fra kollisjonsputen, instrumentpanelet, rattet og dørkarmen. (Se
) Kollisjonsputene utløses svært hurtig for å kunne bidra til å beskytte passasjerene. Kreftene som frigjøres når kollisjonsputen løses ut kan skade de som oppholder seg for nære modulen.Luften i kollisjonsputen foran og sidekollisjonsputene vil raskt slippes ut etter at de er utløst. Den sentrale sidekollisjonsputen foran og sidekollisjonsgardinkollisjonsputene vil forbli oppblåst i en kort periode.
Kollisjonsputesystemet fungerer bare når bilens hovedbryter står i stilling ON.
Når hovedbryteren settes i stilling ON, lyser varsellampen for kollisjonsputesystemet i omtrent 7 sekunder, for deretter å slukke. Dette betyr at kollisjonsputesystemet fungerer som det skal. (Se ${1})


Kollisjonsputene foran løses normalt ikke ut ved sidekollisjoner, påkjørsler bakfra, velt eller mindre frontkollisjoner. Bruk alltid sikkerhetsbelte for å begrense skadeomfanget ved ulike typer ulykker.
Sikkerhetsbeltene og kollisjonsputene er mest effektive når du sitter godt ned og inn mot seteryggen med seteryggen mest mulig opprett. Kollisjonsputene utløses med stor kraft. Hvis du og dine passasjerer ikke er fastspent, lener dere forover, sitter sidelengs, eller på noen annen måte som ikke er i overensstemmelse med riktig sittestilling, vil det påløpe stor fare for alvorlig skade eller død i tilfelle ulykke. Du og dine passasjerer kan også utsettes for alvorlige eller dødelige skader fra kollisjonsputen hvis dere lener dere mot den når den løses ut. Sitt alltid med ryggen inn mot seteryggen og så lang som praktisk mulig vekk fra rattet eller instrumentpanelet. Bruk alltid sikkerhetsbelte.
Hold hendene på utsiden av rattet. Plassering av hendene mellom ratteikene kan øke faren for skade hvis kollisjonsputen skulle løse ut.






Ikke la barn sitte usikret eller strekke seg ut av vinduet under kjøring. Forsøk aldri å holde barnet på fanget. Illustrasjonene viser noen eksempler på farlige kjørestillinger.
Barn kan bli alvorlig skadet eller drept dersom de ikke er ordentlig sikret når kollisjonsputene utløses.
Monter aldri et bakovervendt barnesete i passasjersetet foran uten først å forsikre deg om at kollisjonsputen på passasjerplassen foran er deaktivert. Hvis kollisjonsputen løser ut kan barnet bli skadet eller drept. (Se
)




Den ekstra fremre sidekollisjonsputen i midten, sidekollisjonsputene og gardinsidekollisjonsputene vil vanligvis ikke blåses opp ved frontkollisjon, bakre kollisjon, velting eller mindre alvorlige sideskollisjoner. Bruk alltid sikkerhetsbelte for å redusere faren for alvorlig skade i en ulykke.
Sikkerhetsbeltene og den ekstra fronten sidekollisjonspute, ekstra sidekollisjonsputer og ekstra gardin sidekollisjonsputer er mest effektive når du sitter godt tilbake og oppreist i setet. Den ekstra fronten Midten side-impact kollisjonspute, supplerende side-impact kollisjonsputer og supplerende gardin side-impact kollisjonsputer blåses opp med stor kraft. Hvis du og dine passasjerer ikke er fastspent, lener dere forover, sitter sidelengs, eller på noen annen måte som ikke er i overensstemmelse med riktig sittestilling, vil det påløpe stor fare for alvorlig skade eller død i tilfelle ulykke.
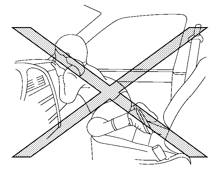
Ikke la noen plassere hender, ben eller ansikt i nærheten av den fremre sidekollisjonsputen i midten, sidekollisjonsputene og kollisjonsgardinene plassert på midten av seteryggen på førersetet, sidene av seteryggen på forsetene eller i nærheten av sidetakskinnene. Ikke la noen sitte i forsetet eller på et av de ytre baksetene med hendene ut av vinduet eller lent mot døren. Illustrasjonene viser noen eksempler på farlige kjørestillinger.
Ikke hold rundt seteryggen på forsetene hvis du sitter i baksetet. Hvis den ekstra fronten Midten side-impact kollisjonspute, supplerende side-impact kollisjonsputer og supplerende gardin side-impact kollisjonsputer blåses opp, kan du bli alvorlig skadet. Vær ekstra påpasselig med barn, som alltid skal være godt sikret.
Ikke bruk setetrekk over ryggen på forsetene. De kan forstyrre oppblåsingen av sidekollisjonsputen i midten foran og sidekollisjonsputene.